- 29 -
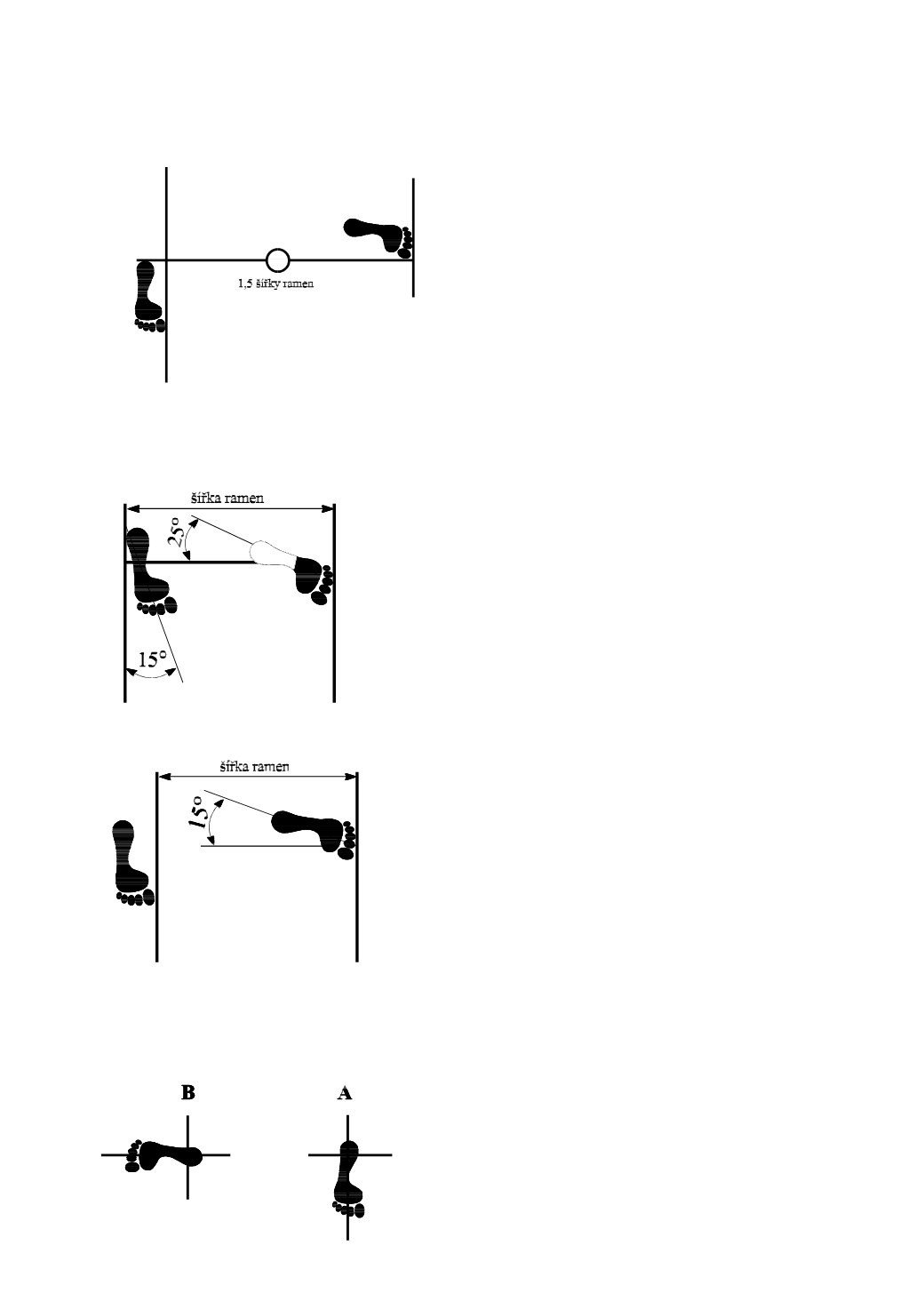
GOJUNG sogi
Je to efektivní postoj na útok i obranu z boku, postoj je skoro stejný jako Niunja sogi.
1. Každé chodidlo přenáší 50 % váhy těla stejně.
2. Délka postoje je na 1,5 šíři ramen ( měří se od
špičky chodidla přední nohy k vnitřní straně
chodidla zadní nohy ), ruce jak při Charyot sogi.
DWITBAL sogi
Užíván pro obranu, příležitostně pro útok. Výhodou postoje je možnost kopu z přední nohy nebo
přizpůsobit rozdíl k váze těla.
1. Délka postoje je na 1 šíři ramen (měří se od první poloviny
špičky předního chodidla k vnější hraně chodidla zadní
nohy).
2. Pokrčit koleno zadní nohy tak, aby přední strana kolene
přesahovala přes špičky chodidla.
3. Přední noha a její polovina chodidla se lehce dotýká
podlahy.
4. Přední noha je 25° vytočena a zadní noha je 15° vytočena.
5. Chodidlo zadní nohy přenáší 80% váhy těla a přední
chodidlo přenáší 20% váhy těla. Ruce jak při Charyot sogi.
SOOJIK sogi
1. Délka postoje je na 1 šíři ramen ( měří se od špičky
chodidla přední nohy k vnitřní straně chodidla zadní
nohy ).
2. Chodidlo zadní nohy přenáší 60 % váhy těla a přední
chodidlo přenáší 40 % váhy těla.
3. Přední chodidlo je 15° vytočeno.
4. Stisknout špičky chodidel tak, aby jste cítili prsty
pohromadě, ruce jak při Charyot sogi.
GUBURYO sogi
Tento postoj slouží jako přípravný postoj na boční a zadní kopy, proto je často používán pro obrané
techniky.
1. Stojí se na stabilní noze, která je mírně pokrčená
v chodidle. Přenáší se na ni 100 % váhy těla.
2. Druhá noha je pokrčena vbok a chodidlo vnější
stranou je u kolene stojící nohy, ale chodidlo (pata)
se kolene nedotýká. Ruce jako při Charyot sogi.




